Nabídky ze Zboží.cz

Hodnocení: 100% 4,8 (8)
Skladem
od 109 Kč
99 Kč
Babyvěci.cz
Hodnocení: 100% 5,0 (1)
Skladem
od 65 Kč
269 Kč
Obrazkove-povleceni.cz
Hodnocení: 100% 4,8 (8)
Skladem
od 65 Kč
85 Kč
Obrazkove-povleceni.cz
Hodnocení: 100% 4,8 (8)
Do 3 dnů
od 89 Kč
87 Kč
Mimimarket.cz
Hodnocení: 100% 4,8 (8)
Do týdne
od 129 Kč
93 Kč
Eshop.tvfit.cz
Hodnocení: 100% 3,3 (7)
Skladem
od 65 Kč
59 Kč
Obrazkove-povleceni.cz

SDS - kompletná logistika doručenia zásielok

Stabilný partner v oblasti logistiky. Štandardizované a individuálne dopravné riešenia. Bohatá ponuka kompletných logistických služieb.

Stránky SDS

Strana demokratického socialismu Czech Republik

Sozialistischer Deutscher Studentenbund – Wikipedie

Známé se stalo i heslo SDS pozdních šedesátých let – „Alle reden vom Wetter. Wir nicht.“, v překladu: „Všichni se baví o počasí.

ObrázkySDS

Sekáč MILWAUKEE SDS-Plus křídlový 22 x 250 mm
SDS-Max Set - 5 pcs | Eldap.cz
FLEX CHE 4-32 R SDS-plus, Kombinované vrtací a sekací kladivo 4 kg, SDS-plus
SDS-Plus arbor 118 mm - 1 pc | Eldap.cz
LUX Akumulátorové vrtací kladivo 1 PowerSystem A-BH-20
SDS vrtáky a jejich použití
Vrták s nákružkem pro SDS sklíčidla na ocelové hmoždinky
Sekáč samoostřící plochý SDS plus 20x250mm | Holweka.cz
Milwaukee sekáč křídlový SDS-Max 4932343746
LUX Upínací zařízení pro vrtací korunky SDS - Plus nakoupit u OBI

SDS - Stavební společnost, s.r.o.

Stavební firma SDS - Stavební společnost, s.r.o. se specializuje na stavební práce, rekonstrukce, zateplení, výstavbu domů, správu nemovitostí apod. Prověřte si nás u našich zákazníků.

Special Direct System – Wikipedie

Protože patenty pro výrobu původního a prvního systému SDS-plus vypršely, na trhu existuje široká paleta výrobků různých výrobců.

Vrtáky SDS | Alza.cz

Vrtáky SDS skladem. Bezpečný výběr i nákup. Doručíme do 24 hodin. Poradíme s výběrem. Pravidelné akce a slevy na Vrtáky SDS. Široká nabídka značek ...

SDS-Technika – Sklo, design, technika, kování

Působíme v oblasti dodávky a montáže skla a skleněných konstrukcí pro interiéry a pláště budov. Nabízíme široký sortiment renomovaných firem značek Dorma, GEZE, Schüco, KIN LONG a další.

SDS-PAGE – Wikipedie

SDS-PAGE (Někdy SDS-Paage) elektroforéza v polyakrylamidovém gelu v přítomnosti dodecylsíranu sodného (SDS) je biochemická metoda využívaná k separaci proteinů na základě jejich elektroforetické pohyblivosti, která závisí především na délce…

SDS – Wikipedie

V případě, že si nejste jisti, přidejte prosím stránku na seznam.

KOVO SDS | výkup druhotných surovin, prodej hutního materiálu…

Zabýváme se výkupem druhotných surovin, ekologickou likvidací autovraků, prodejem hutního materiálu, prodejem hydraulických hadic a demolicemi.

Nabídky ze Zboží.cz

Hodnocení: 100% 4,8 (8)
Skladem
od 109 Kč
99 Kč
Babyvěci.cz
Hodnocení: 100% 5,0 (1)
Skladem
od 65 Kč
269 Kč
Obrazkove-povleceni.cz
Hodnocení: 100% 4,8 (8)
Skladem
od 65 Kč
85 Kč
Obrazkove-povleceni.cz
Hodnocení: 100% 4,8 (8)
Do 3 dnů
od 89 Kč
87 Kč
Mimimarket.cz
Hodnocení: 100% 4,8 (8)
Do týdne
od 129 Kč
93 Kč
Eshop.tvfit.cz
Hodnocení: 100% 3,3 (7)
Skladem
od 65 Kč
59 Kč
Obrazkove-povleceni.cz
Hodnocení: 100% 4,8 (8)
Do týdne
od 99 Kč
93 Kč
Supertip.cz
Hodnocení: 100% 3,3 (7)
Do týdne
od 129 Kč
68 Kč
Eshop.tvfit.cz

Special Direct System

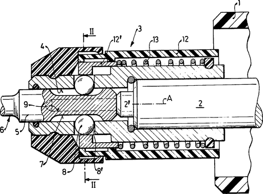
Special Direct System (SDS; původně Steck, Dreh, Sitzt – vložit, otočit, držet) je systém upínání vrtacích a sekacích nástrojů v pneumatických kladivech. Vyvinula jej firma Robert Bosch. Protože patenty pro výrobu původního a prvního systému SDS-plus vypršely, na trhu existuje široká paleta výrobků různých výrobců. Tvary a rozměry upínací části vrtáků a sekáčů jsou však pro kompatibilitu výrobci dodržovány. Firma Bosch název SDS užívá i pro další rychloupínací systémy, jako například upnutí… Wikipedie

Při pokusu o sdílení polohy došlo k chybě
Více informací
odkazuje na služby nejen od Seznam.cz.

© 1996–2025 Seznam.cz, a.s.